2020-06-19 23:01:57 sunmedia 561
介绍小流量高扬程磁力泵的开发设计
一、结构设计
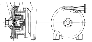
CJRB型小流量高扬程磁力泵的主要结构如图1所示,主要由口环1、泵体2、内磁转子3、隔离套4、外磁转子5、电机6等组成。
图1:小流量高扬程磁力泵结构示意图

CJRB型磁力泵的工作过程是电机直接驱动外磁转子,磁力穿越隔离套,作用于内磁转子从而驱动转子旋转,内磁转子无轴封,实现无泄漏输送。
CJRB型磁力泵的结构特点是:隔离套和泵轴构成一体,是静止件;叶轮和内磁钢为一整体,构成转子件,能保证较小的结构尺寸。
二、水力设计
低比速离心泵的圆盘损失是影响其效率的一个主要因素。圆盘损失与叶轮外径的5次方成正比,所以为了达到规定的扬程,减小叶轮直径认,增加叶片出口安放角β2和叶片数Z是一个行之有效的方法。另外,为了降低叶片进口的排挤系数,采用长短叶片复合设计是一个较为有效的方法。东莞南方泵业采用了长短叶片复合设计的方法。取L1/L=0.55~0.65,短叶片长度约为长叶片长度的1/2,如图2所示。
图2:短叶片偏置

三、永磁磁力联轴耦合器
磁力泵的磁力耦合器是磁力泵的关键技术之一,其设计是否合理直接影响到泵组的效率。本文采用了密集型聚磁磁力耦合器,如图3所示。这种新型磁力耦合器具有磁能利用好、磁场强度高、传动力矩大、结构紧凑等优点。磁力泵的内磁转子在介质中旋转会产生较大的功率损失,这部分功率损失一般分为两部分:一是内磁转子圆柱面的摩擦损失,它与转子半径的4次方及转子的长度成正比;二是内磁转子端面的摩擦损失,它与转子半径5次方成正比因此,从永磁转子能耗上考虑,减小内磁转子外径有利于减小磁转子能耗。另一方面,在转速、转矩、磁钢长度—定时,用磁能积高的磁性材料,减小磁转子体外径,显然会减小磁转子的能耗,提高南方水泵效率。永磁体采用的是钐钴材料,磁能积高,能耐较高的温度,提高了永磁磁力耦合器的耐高温性能。
图3:永磁磁性联轴耦合器

四、轴向力平衡与冷却回路设计
磁力泵的轴向力是指内磁转子所受的轴向推力。内磁转子左右两端均设置有推力盘,如图4所示。如果轴向力不平衡,将影响推力盘的使用寿命,即影响泵机组的寿命,甚至关系到泵能否启动运行,因此轴向力平衡是整个设计中十分重要的一部分。内磁转子轴向力平衡的设计方法就是降低内磁转子右端的单位面积作用力,尽可能使它所受的合力为零。
图4:冷却循环液的循环回路

磁力泵内磁钢与隔离套之间需要一定的液体循环冷却,同时推力轴承、导轴承也需要液体润滑冷却,防止隔离套产生过量的温升以至于永磁体退磁,防止冷却液汽化,使得导轴承、推力盘出现干摩擦。本系列产品利用液体循环产生的压力差,减小内磁转子右端轴向力分布。同时实现正常的冷却循环。
小流量髙扬程磁力泵冷却循环液,由叶轮出口高压腔流经内磁钢与隔离套之间的环形间隙AB、推力盘轴承BC、导轴承CD、叶轮入口环缝DF等流体阻力元件,再回到水泵入口,构成循环回路,如图4所示。冷却循环液在循环回路中产生4处压力降,由此减少了作用于内磁转子右端的压力,实现了轴向力平衡。
五、新型耐磨滑动轴承材料
在磁力泵中,轴承是浸泡在所输送介质中运转的,因此润滑性一般都比较差。泵在长时间的运行中,轴承易受磨损,影响了轴承的寿命,直接影响到磁力泵的稳定运行和使用寿命。
经过研究,利用聚四氟乙烯(F4)和聚全氟乙丙烯(F46)相容性好、粘附力强的特点,将它们按一定比例混合,填充一定的石墨等经过干粉共混、模压,在国内首次成功制备了F50C新型耐磨滑动轴承材料。经过耐磨试验证明,F50C新型耐磨轴承材料在润滑和非润滑材料下均具有良好的耐磨和减磨性能,同时抗冲击性能也好,能满足磁力泵中轴材料的需求,提高了产品的寿命。
六、工艺与材料
叶轮采用数控机床铣加工完成,叶片采用圆柱形叶片,使流道形状便于控制,叶轮前盖板与叶片采用电焊组合,经消应力处理后再作精加工,保证了加工精度。磁力泵叶轮与内磁转子为一体,前后推力盘采用镶嵌结构,以尽可能缩短轴向长度。磁转子磁块组合采用圆筒形结构新工艺制造。磁力泵叶轮泵体采用KM8Ni9Ti,隔离套采用TC4钛合金材料,使得磁涡流损失小,耐高温。
对隔离套材料分别为KM8Ni9Ti和TC4的磁性联轴器进行试验,得到隔离套材料为TC4的涡流损失远小于采用lCrl8Ni9Ti的涡流损失。